Neurodevelopmental disorder
SpecialtyPsychiatry, neurology

Neurodevelopmental disorders are a group of conditions that begin to emerge during childhood (or the development of the nervous system). According to the American Psychiatric Association Diagnostic and Statistical Manual of Mental Disorders, Fifth Edition, (DSM-5) published in 2013, these conditions generally appear in early childhood, usually before children start school, and can persist into adulthood.[1] The key characteristic of all these disorders is that they negatively impact a person's functioning in one or more domains of life (personal, social, academic, occupational) depending on the disorder and deficits it has caused. All of these disorders and their levels of impairment exist on a spectrum, and affected individuals can experience varying degrees of symptoms and deficits, despite having the same diagnosis.[1][2]

The DSM-5 classifies neurodevelopmental disorders into six overarching groups.

  1. Intellectual disability (intellectual development disorder)
  2. Communication disorders
  3. Autism spectrum disorder (ASD)
  4. Attention-deficit/hyperactivity disorder (ADHD)
  5. Neurodevelopmental motor disorders
  6. Specific learning disorders

These disorders are commonly comorbid conditions, meaning that a person affected by one of these disorders will usually meet criteria for a second disorder.[1][2]

Classification

Intellectual disability (intellectual development disorder)

Intellectual disabilities (IDs), or intellectual development disorder, are defined by the DSM-5 as "deficits in general mental abilities."[1] They affect a person's ability to process information, learn or retain information, think critically or abstractly, and solve problems. They ultimately inhibit a person's ability to adapt to their surroundings, to the extent that individuals may fail to meet milestones of independent functioning or social responsibility in one or more activities of daily living.[1] Global developmental delay (GDD) is categorized under intellectual disability and "is diagnosed when an individual fails to meet expected developmental milestones in several areas of intellectual functioning."[1]

Communication disorders

Communication disorder

Autism spectrum disorder (ASD)

Autism spectrum disorder (ASD)

Attention-deficit/hyperactivity disorder (ADHD)

Attention deficit hyperactivity disorder (ADHD)

Neurodevelopmental motor disorders

Motor disorders including developmental coordination disorder, stereotypic movement disorder, and tic disorders (such as Tourette's syndrome), and CAS - Apraxia of speech

Specific learning disorders

Specific learning disorders

Currently being researched

There are neurodevelopmental research projects examining potential new classifications of disorders including:

  1. Nonverbal learning disorder (NLD or NVLD), a neurodevelopmental disorder thought to be linked to white matter in the right hemisphere of the brain and generally considered to include (a) low visuospatial intelligence; (b) discrepancy between verbal and visuospatial intelligence; (c) visuoconstructive and fine-motor coordination skills; (d) visuospatial memory tasks; (e) reading better than mathematical achievement; and (f) socioemotional skills.[3][4][5] While Nonverbal learning disorder is not categorized in the ICD or DSM as an discrete classification, "the majority of researchers and clinicians agree that the profile of NLD clearly exists (but see Spreen, 2011, for an exception[6]), but they disagree on the need for a specific clinical category and on the criteria for its identification."[7]

Presentation

Consequences

The multitude of neurodevelopmental disorders span a wide range of associated symptoms and severity, resulting in different degrees of mental, emotional, physical, and economic consequences for individuals, and in turn families, social groups, and society.[8]

Causes

The development of the nervous system is tightly regulated and timed; it is influenced by both genetic programs and the prenatal environment. Any significant deviation from the normal developmental trajectory early in life can result in missing or abnormal neuronal architecture or connectivity.[9] Because of the temporal and spatial complexity of the developmental trajectory, there are many potential causes of neurodevelopmental disorders that may affect different areas of the nervous system at different times and ages. These range from social deprivation, genetic and metabolic diseases, immune disorders, infectious diseases, nutritional factors, physical trauma, and toxic and prenatal environmental factors. Some neurodevelopmental disorders, such as autism and other pervasive developmental disorders, are considered multifactorial syndromes which have many causes that converge to a more specific neurodevelopmental manifestation.[10]

Social deprivation

Deprivation from social and emotional care causes severe delays in brain and cognitive development.[11] Studies with children growing up in Romanian orphanages during Nicolae Ceauşescu's regime reveal profound effects of social deprivation and language deprivation on the developing brain. These effects are time-dependent. The longer children stayed in negligent institutional care, the greater the consequences. By contrast, adoption at an early age mitigated some of the effects of earlier institutionalization (abnormal psychology).[12]

Genetic disorders

A child with Down syndrome

A prominent example of a genetically determined neurodevelopmental disorder is Trisomy 21, also known as Down syndrome. This disorder usually results from an extra chromosome 21,[13] although in uncommon instances it is related to other chromosomal abnormalities such as translocation of the genetic material. It is characterized by short stature, epicanthal (eyelid) folds, abnormal fingerprints, and palm prints, heart defects, poor muscle tone (delay of neurological development), and intellectual disabilities (delay of intellectual development).[14]

Less commonly known genetically determined neurodevelopmental disorders include Fragile X syndrome. Fragile X syndrome was first described in 1943 by Martin and Bell, studying persons with family history of sex-linked "mental defects".[15] Rett syndrome, another X-linked disorder, produces severe functional limitations.[16] Williams syndrome is caused by small deletions of genetic material from chromosome 7.[17] The most common recurrent Copy Number Variant disorder is 22q11.2 deletion syndrome (formerly DiGeorge or velocardiofacial syndrome), followed by Prader-Willi syndrome and Angelman syndrome.[18]

Immune dysfunction

Immune reactions during pregnancy, both maternal and of the developing child, may produce neurodevelopmental disorders. One typical immune reaction in infants and children is PANDAS,[19] or Pediatric Autoimmune Neuropsychiatric Disorders Associated with Streptococcal infection.[20] Another disorder is Sydenham's chorea, which results in more abnormal movements of the body and fewer psychological sequellae. Both are immune reactions against brain tissue that follow infection by Streptococcus bacteria. Susceptibility to these immune diseases may be genetically determined,[21] so sometimes several family members may have one or both of them following an epidemic of Strep infection.

Infectious diseases

Systemic infections can result in neurodevelopmental consequences, when they occur in infancy and childhood of humans, but would not be called a primary neurodevelopmental disorder. For example HIV[22] Infections of the head and brain, like brain abscesses, meningitis or encephalitis have a high risk of causing neurodevelopmental problems and eventually a disorder. For example, measles can progress to subacute sclerosing panencephalitis.

A number of infectious diseases can be transmitted congenitally (either before or at birth), and can cause serious neurodevelopmental problems, as for example the viruses HSV, CMV, rubella (congenital rubella syndrome), Zika virus, or bacteria like Treponema pallidum in congenital syphilis, which may progress to neurosyphilis if it remains untreated. Protozoa like Plasmodium[22] or Toxoplasma which can cause congenital toxoplasmosis with multiple cysts in the brain and other organs, leading to a variety of neurological deficits.

Some cases of schizophrenia may be related to congenital infections, though the majority are of unknown causes.[23]

Metabolic disorders

Metabolic disorders in either the mother or the child can cause neurodevelopmental disorders. Two examples are diabetes mellitus (a multifactorial disorder) and phenylketonuria (an inborn error of metabolism). Many such inherited diseases may directly affect the child's metabolism and neural development[24] but less commonly they can indirectly affect the child during gestation. (See also teratology).

In a child, type 1 diabetes can produce neurodevelopmental damage by the effects of excess or insufficient glucose. The problems continue and may worsen throughout childhood if the diabetes is not well controlled.[25] Type 2 diabetes may be preceded in its onset by impaired cognitive functioning.[26]

A non-diabetic fetus can also be subjected to glucose effects if its mother has undetected gestational diabetes. Maternal diabetes causes excessive birth size, making it harder for the infant to pass through the birth canal without injury or it can directly produce early neurodevelopmental deficits. Usually the neurodevelopmental symptoms will decrease in later childhood.[27]

Phenylketonuria, also known as PKU, can induce neurodevelopmental problems and children with PKU require a strict diet to prevent intellectual disability and other disorders. In the maternal form of PKU, excessive maternal phenylalanine can be absorbed by the fetus even if the fetus has not inherited the disease. This can produce intellectual disability and other disorders.[28][29]

Nutrition

Nutrition disorders and nutritional deficits may cause neurodevelopmental disorders, such as spina bifida, and the rarely occurring anencephaly, both of which are neural tube defects with malformation and dysfunction of the nervous system and its supporting structures, leading to serious physical disability and emotional sequelae. The most common nutritional cause of neural tube defects is folic acid deficiency in the mother, a B vitamin usually found in fruits, vegetables, whole grains, and milk products.[30][31] (Neural tube defects are also caused by medications and other environmental causes, many of which interfere with folate metabolism, thus they are considered to have multifactorial causes.)[32][33] Another deficiency, iodine deficiency, produces a spectrum of neurodevelopmental disorders ranging from mild emotional disturbance to severe intellectual disability. (see also congenital iodine deficiency syndrome).[34]

Excesses in both maternal and infant diets may cause disorders as well, with foods or food supplements proving toxic in large amounts. For instance in 1973 K.L. Jones and D.W. Smith of the University of Washington Medical School in Seattle found a pattern of "craniofacial, limb, and cardiovascular defects associated with prenatal onset growth deficiency and developmental delay" in children of alcoholic mothers, now called fetal alcohol syndrome, It has significant symptom overlap with several other entirely unrelated neurodevelopmental disorders.[35]

Physical trauma

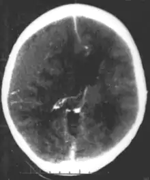
CT scan showing epidural hematoma, a type of traumatic brain injury (upper left)

Brain trauma in the developing human is a common cause (over 400,000 injuries per year in the US alone, without clear information as to how many produce developmental sequellae)[36] of neurodevelopmental syndromes. It may be subdivided into two major categories, congenital injury (including injury resulting from otherwise uncomplicated premature birth)[37] and injury occurring in infancy or childhood. Common causes of congenital injury are asphyxia (obstruction of the trachea), hypoxia (lack of oxygen to the brain), and the mechanical trauma of the birth process itself.[38]

Placenta

Although it not clear yet as strong is the correlation between placenta and brain, a growing number of studies are linking placenta to fetal brain development.[39]

Diagnosis

Neurodevelopmental disorders are diagnosed by evaluating the presence of characteristic symptoms or behaviors in a child, typically after a parent, guardian, teacher, or other responsible adult has raised concerns to a doctor.[40]

Neurodevelopmental disorders may also be confirmed by genetic testing. Traditionally, disease related genetic and genomic factors are detected by karyotype analysis, which detects clinically significant genetic abnormalities for 5% of children with a diagnosed disorder. As of 2017, chromosomal microarray analysis (CMA) was proposed to replace karyotyping because of its ability to detect smaller chromosome abnormalities and copy-number variants, leading to greater diagnostic yield in about 20% of cases.[18] The American College of Medical Genetics and Genomics and the American Academy of Pediatrics recommend CMA as standard of care in the US.[18]

Management

See also

References

  1. 1 2 3 4 5 6 Diagnostic and statistical manual of mental disorders: DSM-5 (5th ed.). Washington: American psychiatric association. 2013. ISBN 978-0-89042-554-1.
  2. 1 2 Morris-Rosendahl DJ, Crocq MA (March 2020). "Neurodevelopmental disorders-the history and future of a diagnostic concept". Dialogues in Clinical Neuroscience. 22 (1): 65–72. doi:10.31887/DCNS.2020.22.1/macrocq. PMC 7365295. PMID 32699506.
  3. Mammarella IC, Cornoldi C (2020). "Nonverbal learning disability (developmental visuospatial disorder)". Neurocognitive Development: Disorders and Disabilities. Handbook of Clinical Neurology. Vol. 174. pp. 83–91. doi:10.1016/B978-0-444-64148-9.00007-7. ISBN 9780444641489. PMID 32977898. S2CID 221939377.
  4. Incháustegui MV (2019-06-18). "Nonverbal Learning Disabilities (Nld) – Clinical Description about Neurodevelopmental Disabilities". Archives in Neurology & Neuroscience. 4 (1). doi:10.33552/ANN.2019.04.000579.
  5. Mammarella IC, Cornoldi C (2020). "Nonverbal learning disability (developmental visuospatial disorder)". Neurocognitive Development: Disorders and Disabilities. Handbook of Clinical Neurology. Vol. 174. Elsevier. pp. 83–91. doi:10.1016/b978-0-444-64148-9.00007-7. ISBN 978-0-444-64148-9. PMID 32977898. S2CID 221939377.
  6. Spreen O (September 2011). "Nonverbal learning disabilities: a critical review". Child Neuropsychology. 17 (5): 418–443. doi:10.1080/09297049.2010.546778. PMID 21462003. S2CID 31974898. Archived from the original on 2021-07-20. Retrieved 2021-04-29.
  7. Mammarella IC, Cornoldi C (2014-05-04). "An analysis of the criteria used to diagnose children with Nonverbal Learning Disability (NLD)". Child Neuropsychology. 20 (3): 255–280. doi:10.1080/09297049.2013.796920. hdl:11577/2668053. PMID 23705673. S2CID 34107811.
  8. Morris-Rosendahl DJ, Crocq MA (March 2020). "Neurodevelopmental disorders-the history and future of a diagnostic concept". Dialogues in Clinical Neuroscience. 22 (1): 65–72. doi:10.31887/DCNS.2020.22.1/macrocq. PMC 7365295. PMID 32699506.
  9. Pletikos M, Sousa AM, Sedmak G, Meyer KA, Zhu Y, Cheng F, et al. (January 2014). "Temporal specification and bilaterality of human neocortical topographic gene expression". Neuron. 81 (2): 321–332. doi:10.1016/j.neuron.2013.11.018. PMC 3931000. PMID 24373884.
  10. Samaco RC, Hogart A, LaSalle JM (February 2005). "Epigenetic overlap in autism-spectrum neurodevelopmental disorders: MECP2 deficiency causes reduced expression of UBE3A and GABRB3". Human Molecular Genetics. 14 (4): 483–492. doi:10.1093/hmg/ddi045. PMC 1224722. PMID 15615769.
  11. van IJzendoorn MH, Palacios J, Sonuga-Barke EJ, Gunnar MR, Vorria P, McCall RB, et al. (December 2011). "Children in Institutional Care: Delayed Development and Resilience". Monographs of the Society for Research in Child Development. 76 (4): 8–30. doi:10.1111/j.1540-5834.2011.00626.x. PMC 4130248. PMID 25125707.
  12. Nelson CA, Zeanah CH, Fox NA, Marshall PJ, Smyke AT, Guthrie D (December 2007). "Cognitive recovery in socially deprived young children: the Bucharest Early Intervention Project". Science. 318 (5858): 1937–1940. Bibcode:2007Sci...318.1937N. doi:10.1126/science.1143921. PMID 18096809. S2CID 1460630.
  13. Diamandopoulos K, Green J (October 2018). "Down syndrome: An integrative review". Journal of Neonatal Nursing. 24 (5): 235–241. doi:10.1016/j.jnn.2018.01.001. S2CID 57620027.
  14. "Facts about down syndrome". National Association of Down Syndrome. Archived from the original on 2012-04-03.
  15. Martin JP, Bell J (July 1943). "A Pedigree of Mental Defect Showing Sex-Linkage". Journal of Neurology and Psychiatry. 6 (3–4): 154–157. doi:10.1136/jnnp.6.3-4.154. PMC 1090429. PMID 21611430.
  16. Amir RE, Van den Veyver IB, Wan M, Tran CQ, Francke U, Zoghbi HY (October 1999). "Rett syndrome is caused by mutations in X-linked MECP2, encoding methyl-CpG-binding protein 2". Nature Genetics. 23 (2): 185–188. doi:10.1038/13810. PMID 10508514. S2CID 3350350.
  17. Merla G, Howald C, Henrichsen CN, Lyle R, Wyss C, Zabot MT, et al. (August 2006). "Submicroscopic deletion in patients with Williams-Beuren syndrome influences expression levels of the nonhemizygous flanking genes". American Journal of Human Genetics. 79 (2): 332–341. doi:10.1086/506371. PMC 1559497. PMID 16826523.
  18. 1 2 3 Martin CL, Ledbetter DH (June 2017). "Chromosomal Microarray Testing for Children With Unexplained Neurodevelopmental Disorders". JAMA. 317 (24): 2545–2546. doi:10.1001/jama.2017.7272. PMC 7058144. PMID 28654998.
  19. Pavone P, Bianchini R, Parano E, Incorpora G, Rizzo R, Mazzone L, Trifiletti RR (February 2004). "Anti-brain antibodies in PANDAS versus uncomplicated streptococcal infection". Pediatric Neurology. 30 (2): 107–110. doi:10.1016/S0887-8994(03)00413-2. hdl:2108/194065. PMID 14984902.
  20. Dale RC, Heyman I, Giovannoni G, Church AW (October 2005). "Incidence of anti-brain antibodies in children with obsessive-compulsive disorder". The British Journal of Psychiatry. 187 (4): 314–319. doi:10.1192/bjp.187.4.314. PMID 16199788.
  21. Swedo SE (December 2001). "Genetics of childhood disorders: XXXIII. Autoimmunity, part 6: poststreptococcal autoimmunity". Journal of the American Academy of Child and Adolescent Psychiatry. 40 (12): 1479–1482. doi:10.1097/00004583-200112000-00021. PMID 11765296. Archived from the original on 2021-07-20. Retrieved 2008-08-17.
  22. 1 2 Boivin MJ, Kakooza AM, Warf BC, Davidson LL, Grigorenko EL (November 2015). "Reducing neurodevelopmental disorders and disability through research and interventions". Nature. 527 (7578): S155–S160. Bibcode:2015Natur.527S.155B. doi:10.1038/nature16029. PMID 26580321.
  23. Brown AS (April 2006). "Prenatal infection as a risk factor for schizophrenia". Schizophrenia Bulletin. 32 (2): 200–202. doi:10.1093/schbul/sbj052. PMC 2632220. PMID 16469941.
  24. Richardson AJ, Ross MA (July 2000). "Fatty acid metabolism in neurodevelopmental disorder: a new perspective on associations between attention-deficit/hyperactivity disorder, dyslexia, dyspraxia and the autistic spectrum". Prostaglandins, Leukotrienes, and Essential Fatty Acids. 63 (1–2): 1–9. doi:10.1054/plef.2000.0184. PMID 10970706.
  25. Northam EA, Anderson PJ, Jacobs R, Hughes M, Warne GL, Werther GA (September 2001). "Neuropsychological profiles of children with type 1 diabetes 6 years after disease onset". Diabetes Care. 24 (9): 1541–1546. doi:10.2337/diacare.24.9.1541. PMID 11522696.
  26. Olsson GM, Hulting AL, Montgomery SM (March 2008). "Cognitive function in children and subsequent type 2 diabetes". Diabetes Care. 31 (3): 514–516. doi:10.2337/dc07-1399. PMC 2453642. PMID 18083794.
  27. Ornoy A, Wolf A, Ratzon N, Greenbaum C, Dulitzky M (July 1999). "Neurodevelopmental outcome at early school age of children born to mothers with gestational diabetes". Archives of Disease in Childhood. Fetal and Neonatal Edition. 81 (1): F10–F14. doi:10.1136/fn.81.1.F10. PMC 1720965. PMID 10375355.
  28. Lee PJ, Ridout D, Walter JH, Cockburn F (February 2005). "Maternal phenylketonuria: report from the United Kingdom Registry 1978-97". Archives of Disease in Childhood. 90 (2): 143–146. doi:10.1136/adc.2003.037762. PMC 1720245. PMID 15665165.
  29. Rouse B, Azen C, Koch R, Matalon R, Hanley W, de la Cruz F, et al. (March 1997). "Maternal Phenylketonuria Collaborative Study (MPKUCS) offspring: facial anomalies, malformations, and early neurological sequelae". American Journal of Medical Genetics. 69 (1): 89–95. doi:10.1002/(SICI)1096-8628(19970303)69:1<89::AID-AJMG17>3.0.CO;2-K. PMID 9066890.
  30. "Folic Acid". March of Dimes. Archived from the original on 2021-08-26. Retrieved 2014-11-10.
  31. "Folate (Folacin, Folic Acid)". Ohio State University Extension. Archived from the original on 2021-08-26. Retrieved 2008-08-06.
  32. "Folic scid: topic home". Centers for Disease Control and Prevention. U.S. Department of Health and Human Services. Archived from the original on 2021-08-26. Retrieved 2008-08-02.
  33. "The basics about spina bifida". Centers for Disease Control and Prevention. U.S. Department of Health and Human Services. Archived from the original on 2021-08-26. Retrieved 2008-08-02.
  34. Skeaff SA (February 2011). "Iodine deficiency in pregnancy: the effect on neurodevelopment in the child". Nutrients. 3 (2): 265–273. doi:10.3390/nu3020265. PMC 3257674. PMID 22254096.
  35. Fetal alcohol syndrome: guidelines for referral and diagnosis (PDF). Archived 2009-04-23 at the Wayback Machine CDC (July 2004). Retrieved on 2007-04-11
  36. "Facts About TBI" (PDF). U.S. Centers for Disease Control and Prevention. Archived from the original on 2021-08-26. Retrieved 2008-08-06.
  37. Murray RM, Lewis SW (September 1987). "Is schizophrenia a neurodevelopmental disorder?". British Medical Journal. 295 (6600): 681–682. doi:10.1136/bmj.295.6600.681. PMC 1247717. PMID 3117295.
  38. Collins KA, Popek E (December 2018). "Birth Injury: Birth Asphyxia and Birth Trauma". Academic Forensic Pathology. 8 (4): 788–864. doi:10.1177/1925362118821468. PMC 6491540. PMID 31240076.
  39. Kratimenos P, Penn AA (August 2019). "Placental programming of neuropsychiatric disease". Pediatric Research. 86 (2): 157–164. doi:10.1038/s41390-019-0405-9. PMID 31003234. S2CID 124094051.
  40. Neurodevelopmental Disorders (PDF), America's Children and the Environment (3 ed.), EPA, August 2017, p. 12, archived (PDF) from the original on 2021-07-20, retrieved 2019-07-10

Further reading

  • Tager-Flusberg H (1999). Neurodevelopmental disorders. Cambridge, Massachusetts: MIT Press. ISBN 978-0-262-20116-2.
  • Brooks DR, Fleischhacker WW (2006). Neurodevelopmental Disorders. Berlin: Springer. ISBN 978-3-211-26291-7.
This article is issued from Wikipedia. The text is licensed under Creative Commons - Attribution - Sharealike. Additional terms may apply for the media files.