NatBraille
Natbraille est un logiciel libre de transcription automatique en texte braille, l'alphabet utilisé par les déficients visuels. Il permet de transcrire des documents divers (formats OpenOffice, texte brut, Microsoft Word + MathType) et peut traiter les mathématiques, le braille intégral et le braille abrégé.
Il est également capable de transcrire un document braille (intégral et mathématique) pour produire un document « en noir » c'est-à-dire en caractères lisibles par des personnes voyantes. Ce type d'outil permet par exemple de faciliter le travail d'accompagnement des élèves par l'équipe éducative dans le cadre scolaire.
Il fonctionne sous n'importe quelle plateforme car il est écrit en Java.
Problématique
Le développement des outils numériques permet d'améliorer l'indépendance des personnes souffrant de déficience visuelle. L'utilisation d'un ordinateur est possible grâce à la synthèse vocale, aux plages ou terminaux braille qui permettent d'accéder directement aux textes affichés à l'écran. Les imprimantes braille (en) (embosseuses) rendent également possible la sortie en braille sur papier.
Mais si l'accès à l'information couplée au développement des aides techniques adaptées améliore conditions de vie des non-voyants, la mise à disposition en ligne ne suffit pas s'ils ne sont pas rendus accessibles au préalable. Par exemple, le braille étant une écriture linéaire, tout contenu bi-dimensionnel va potentiellement poser problème (mathématiques, musique, tableaux, etc.).
La loi pour l'égalité des droits et des chances, la participation et la citoyenneté des personnes handicapées a identifié une partie de ces problèmes, plus particulièrement ceux liés à l'accessibilité des sites internet. Reste à prendre en compte l'accessibilité même des documents, qui passe par la transcription.
Les transcriptions peuvent être réalisées dans des centres de transcription spécialisés, mais devant la quantité d'informations à transcrire, ces centres ne peuvent répondre rapidement aux demandes qui leur sont adressées.
L'informatique a favorisé l'émergence de nouveaux transcripteurs « occasionnels », non-spécialistes et souvent non braillistes. Le meilleur exemple est celui des professeurs enseignant à des déficients visuels inclus dans leur classe.
Les solutions techniques existantes[Lesquelles ?] se limitent en général à une ou deux formes[Quoi ?] de braille, et la chaîne de transcription d'un document complexe nécessite souvent l'utilisation de trois, voire quatre ou cinq logiciels différents. NatBraille permet d'effectuer l'ensemble des traitements nécessaire à une transcription.
Fonctionnement
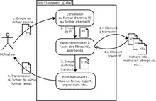
Les interactions de l'utilisateur avec le système sont minimisées : dans l'idéal, l'utilisateur se contente de donner un fichier source et obtient en retour un fichier transcrit.
Le logiciel commence par convertir les documents sources dans un format interne spécial permettant un meilleur traitement des transcriptions. Il choisit ensuite les filtres de transcription nécessaires (fichiers XSL) et effectue une première transcription. Enfin, il réalise les opérations de post-traitement pour aboutir au fichier transcrit.

Voir aussi
Articles connexes
Liens externes
- Site officiel
- Le site Braillepost assure gratuitement la transcription, l'impression braille de votre courrier et son expédition par voie postale. BraillePost est un des partenaires de NAT.
- Portail des logiciels libres
- Portail de l’écriture
- Portail du handicap